BD扩展

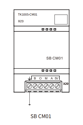
  • 型号:CM01

    订货号: TK1005-CM01
  • 产品参数
  • 接线图
  • 资料下载
  • 尺寸图
  • 型号 SB CM01
    订货号 TK1005-CM01
    常规
    尺寸 W x H x D(mm) 35 x 52.2 x 16
    重量 18.2 g
    功耗 0.5 W
    电流消耗(5 V DC) 50 mA
    电流消耗(24 V DC) 不适用
    发送器和接收器(RS485)
    共模电压范围 -7 V ~ +12 V,1 s,3 VRMS 连续
    电缆长度,屏蔽电缆 有隔离中继器:1000 m,波特率最高达187.5 k
    无隔离中继器:50 m
    发送器和接收器(RS232)
    发送器输出电压 最小 +/-5V,RL = 3 KΩ 时
    发送输出电压 最大 +/-15 V DC
    电缆长度,屏蔽电缆 最大 10 m
  • 名称
    文件描述
    文件格式
    更新时间
    预览/下载
  • TK1000选型手册
    TK1000选型手册V1.0
    2025.10.16
  • TOP

    业务咨询

    技术咨询

    技术咨询

    4000-300-890